Датчик давления срабатывает от давление на выходе насоса и прерывает его работу вне заданного диапазона, обозначенного на шильде насоса. Когда давление на выходе понижается ниже предопределенного предела (как правило 15-20 PSI [1-1.4 бара], меньше чем давление отключения), срабатывает выключатель, и насос будет работать до отключения достигнутого (высокого) давления. Давление отключения установлено в соответствии со стандартами калибровки завода-изготовителя (См. шильду и техническую спецификацию насоса).
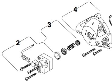
Датчик давления насосов SHURflo серии 8000 указан на рисунке под номером 2.
Скачать руководство пользователя насосов SHURflo серии 8000 на русском языке.
Вес | 0.1 кг |
Бренд | SHURflo |
Мы принимаем оплату наложенным платежом, пластиковыми картами, электронными деньгами, безналичным способом (от юридических и физических лиц), а также наличными курьеру при доставке (Москва и Санкт-Петербург), банковскими картами или наличными в нашем магазине в Москве:









